НС

Чертеж изделия:
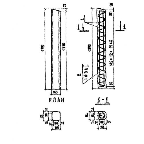
Характеристики изделия:
ПараметрЗначение
длина1900 мм
ширина160 мм
высота160 мм
масса150 кг
нормативный документТПР 503-0-17

НС    Сигнальные стобики ТПР 503-0-17.