КК 144

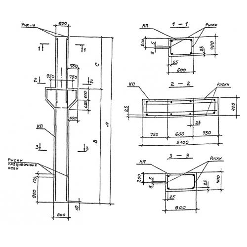
Чертеж изделия:
Характеристики изделия:
ПараметрЗначение
длина15450 мм
ширина400 мм
высота2100 мм
вес12800 кг
Шифр2021-164.1

КК 144 Колонны по Шифру 2021-164.1.