РС 3

Чертеж изделия:
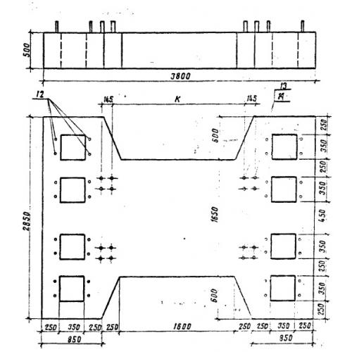
Характеристики изделия:
ПараметрЗначение
длина2980 мм
ширина1520 мм
высота200 мм
вес2250 кг
серияХТР 1-1

РС 3 Плиты стеновые по серии ХТР 1-1.