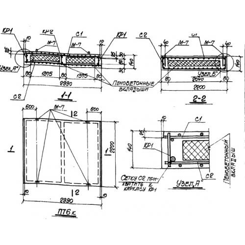
ПТ 6

Чертеж изделия:
Характеристики изделия:
ПараметрЗначение
длина2990 мм
ширина2200 мм
высота140 мм
вес1400 кг
серияХТР 1-1

ПТ 6 Плиты перекрытий по серии ХТР 1-1.