Ф 19 а

Чертеж изделия:
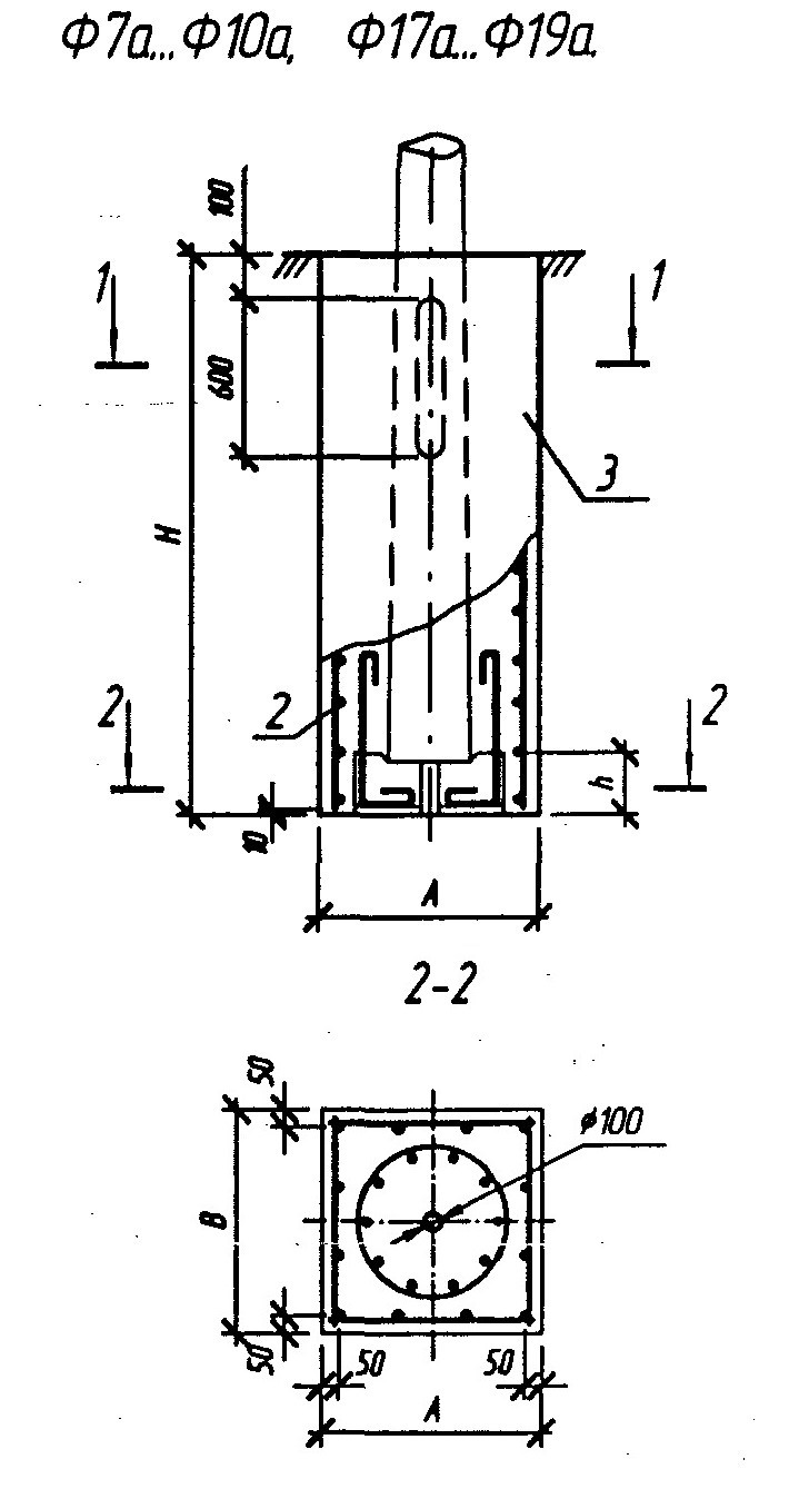
Характеристики изделия:
ПараметрЗначение
Высота Н3000 мм
Высота h550 мм
Длина А1400 мм
Ширина В1400 мм
Вес13675 кг
СерияБ3.507.1-3.04
Норма погрузки на машину (20тн)1 шт
Вагонная норма погрузки-

Фундамент Ф 19 а изготавливается из тяжелого бетона и предназначен для установки стоек СКЦ согласно нормам серии Б3.507.1-3.04.