ПО 20.5.5-М-49

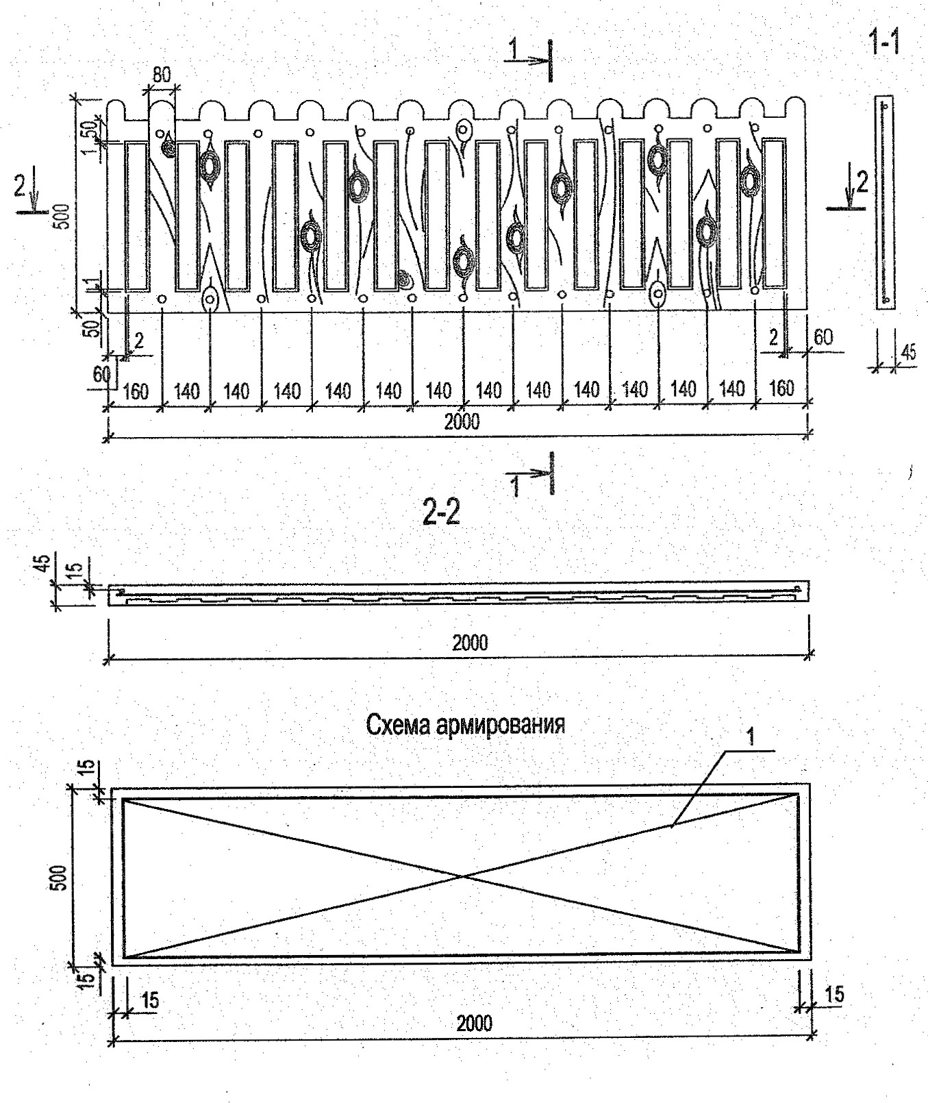
Чертеж изделия:
Характеристики изделия:
ПараметрЗначение
Длина L2000 мм
Ширина В45 мм
Высота Н500 мм
Вес57,2 кг
СерияБ3.017.1-7.05
Норма погрузки на машину (20тн)340 шт
Вагонная норма погрузки-

Панели ограждения железобетонные ПО 20.5.5-М-49 используются для ограждения территорий самого разного назначения. Изготовление заборов регламентируется серией Б3.017.1-7.05.