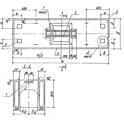
КАП 1

Чертеж изделия:
Характеристики изделия:
ПараметрЗначение
длина3200 мм
ширина750 мм
высота800 мм
вес4500 кг
серия3.702-1/79

КАП 1 Капители  по серии 3.702-1/79.