2ПО 25

Чертеж изделия:
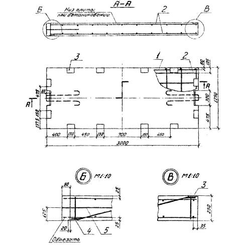
Характеристики изделия:
ПараметрЗначение
длина3000 мм
ширина1250 мм
высота250 мм
вес2400 кг
серия3.505.1-16

2ПО 25 Плиты омоноличенные по серии 3.505.1-16.