ТБ

Чертеж изделия:
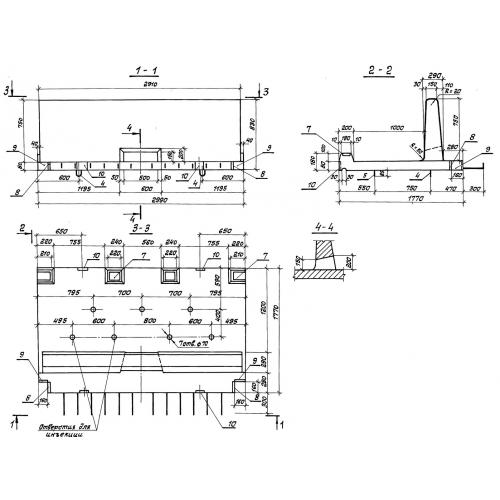
Характеристики изделия:
ПараметрЗначение
длина2990 мм
ширина1770 мм
высота830 мм
вес2300 кг
серия3.503.1-63

ТБ Блоки тротуарные по серии 3.503.1-63.