Р ригель

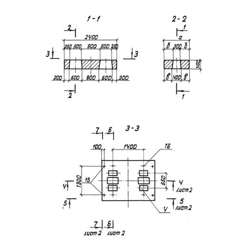
Чертеж изделия:
Характеристики изделия:
ПараметрЗначение
длина2400 мм
ширина1800 мм
высота400 мм
вес4000 кг
серия3.501.1-165

Р  Ригели для безростверковых опор по серии 3.501.1-165.