Блок №99

Чертеж изделия:
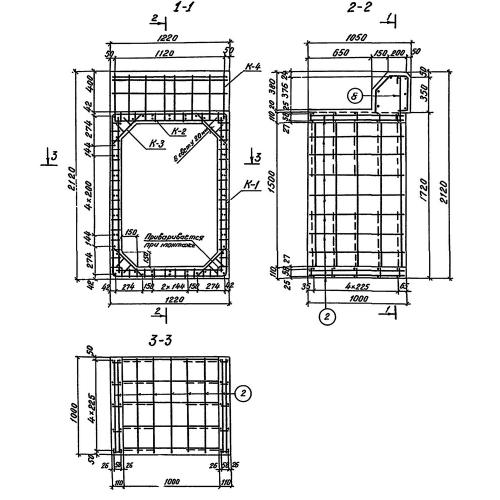
Характеристики изделия:
ПараметрЗначение
Длина2120 мм
ширина1220 мм
высота1000 мм
вес2100 кг
серия3.501-104

лок №99  Звенья оголовков средней части трубы по серии 3.501-104.