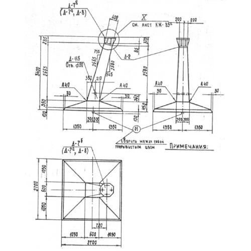
Ф 5 Фундаменты под анкерно-угловых опор
Характеристики изделия:
| Параметр | Значение |
|---|---|
| длина | 2700 мм |
| ширина | 2700 мм |
| высота | 3400 мм |
| масса | 6500 кг |
| нормативный документ | Серия 3.407-115 |
Цена:
Рассчитать стоимостьФ 5 Фундаменты под анкерно-угловые опоры Серия 3.407-115.
