Б-1

Чертеж изделия:
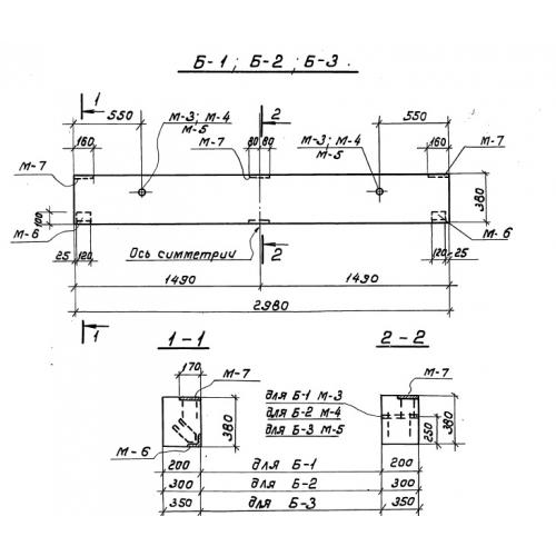
Характеристики изделия:
ПараметрЗначение
длина2980 мм
ширина200 мм
высота380 мм
вес200 кг
серия3.016-3

Б-1 Керамзитобетонные блоки  по серии 3.016-3.