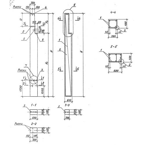
К 44 колонна сборная

Чертеж изделия:
Характеристики изделия:
ПараметрЗначение
длина9300 мм
ширина600 мм
высота600 мм
масса5000 кг
нормативный документСерия 3.015-1/92

К 44  Колонны сборные Серия 3.015-1/92.