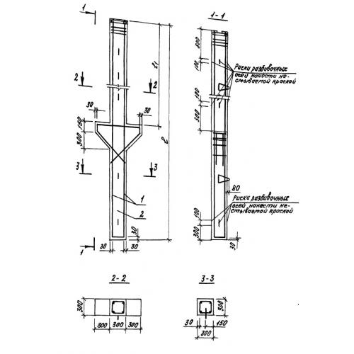
1СД 60

Чертеж изделия:
Характеристики изделия:
ПараметрЗначение
длина6000 мм
ширина900 мм
высота300 мм
вес1490 кг
серия1.821.1-7

1СД 60 Сваи-колонны по серии 1.821.1-7.