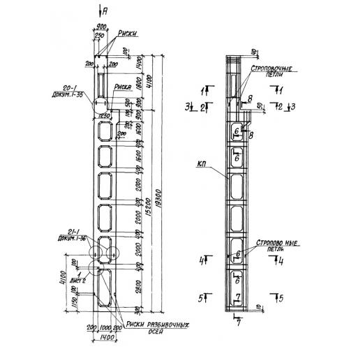
КДП 180 колонны крайние
Характеристики изделия:
| Параметр | Значение |
|---|---|
| длина | 19300 мм |
| ширина | 500 мм |
| высота | 1400 мм |
| масса | 16000 кг |
| нормативный документ | Серия 1.424.1-10 |
Цена:
Рассчитать стоимостьКДП 180 Двухветвевые колонны с проходом (крайние) Серия 1.424.1-10.
