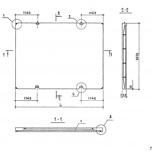
П 37.48.12

Чертеж изделия:
Характеристики изделия:
ПараметрЗначение
длина4780 мм
ширина3650 мм
высота120 мм
вес5230 кг
серия1.143.1-7

П 37.48.12 Плиты перекрытий по серии 1.143.1-7.