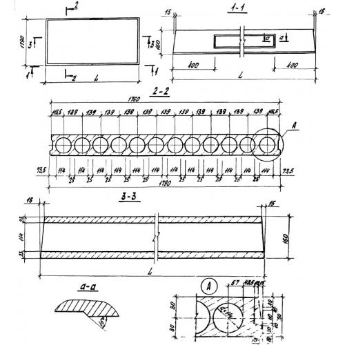
ПНО 48.18

Чертеж изделия:
Характеристики изделия:
ПараметрЗначение
длина4780 мм
ширина1790 мм
высота160 мм
вес1930 кг
серия1.141.1-39

ПНО 48.18 Плиты настила облегченные многопустотные по серии 1.141.1-39.