ПТ 63-15 ста-2
| Параметр | Значение |
|---|---|
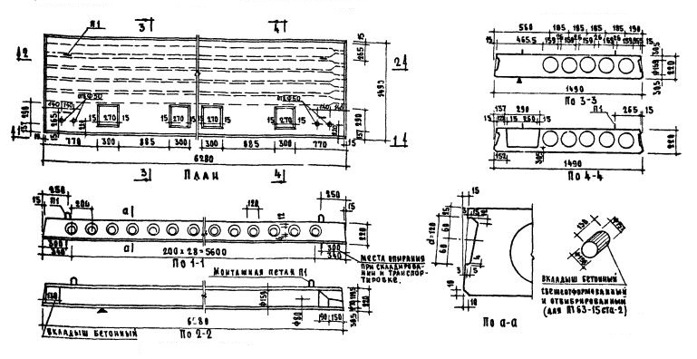
| Длина | 6280 мм |
| Ширина | 1490 мм |
| Высота | 220 мм |
| Масса | 3440 кг |
| Нормативный документ | Серия 1.141-8 |
Стандарт изготовления изделия: Серия 1.141-8
Плита перекрытия с круглыми пустотами ПТ 63-15 ста-2 (1.141-8) является универсальной железобетонной конструкцией индустриального строительства. Форма изделия представлена прямоугольной, а вдоль тела проходят внутренние отверстия, облегчающие вес элемента и улучшающие показатели тепло- и звукоизоляции. Благодаря предварительно напряженному стальному каркасу плита обладает особой прочностью и «эластичностью», что является основными преимуществами данного изделия. Согласно регламенту изготовления Серии 1.141-8, ПТ 63-15 ста-2 (1.141-8) предназначена для создания перекрытия на стыке этажей в санитарно-технических узлах.
Маркировка
1. ПТ - панель многопустотная;
2. 63 - длина в дм;
3. 15 - ширина в дм;
4. с - сантехническая;
5. т - под тяжелую нагрузку;
6. а - усилена вкладышами;
7. 2 - различие по закладным деталям.