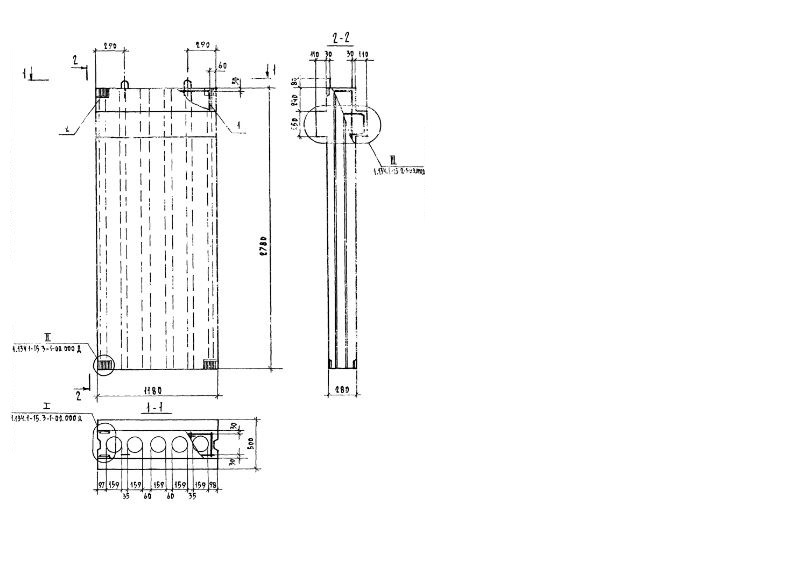
БВ 12.28.28 блоки вентиляционные

Чертеж изделия:
Характеристики изделия:
ПараметрЗначение
длина1180 мм
ширина280 мм
высота2780 мм
масса1710 кг
нормативный документСерия 1.134.1-15

БВ 12.28.28  Блоки вентиляционные Серия 1.134.1-15.