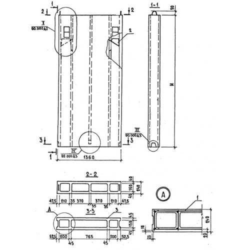
ВБП 14.28.2 блоки вентиляционные

Чертеж изделия:
Характеристики изделия:
ПараметрЗначение
длина1360 мм
ширина240 мм
высота2790 мм
масса870 кг
нормативный документСерия 1.134.1-12

ВБП 14.28.2  Блоки вентиляционные  поэтажные Серия 1.134.1-12.