ПК 24.10

Чертеж изделия:
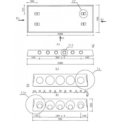
Характеристики изделия:
ПараметрЗначение
длина2380 мм
ширина990 мм
высота220 мм
масса750 кг
нормативный документСерия 1.041.1-5

ПК 24.10  Многопустотные плиты перекрытий межвидового назначения (Серия 1.041.1-5).

Плиты длиной 2380 мм и шириной 990 мм с арматурой из стали классов  A-III  и Bp-I из тяжелого бетона.