ПС 56.150.40 панели стеновые

Чертеж изделия:
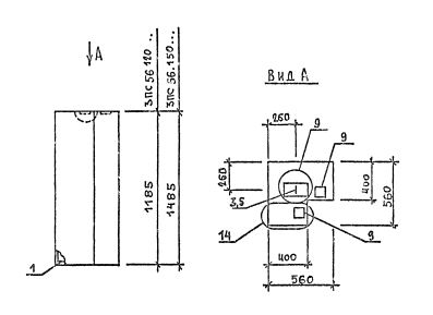
Характеристики изделия:
ПараметрЗначение
длина560 мм
ширина400 мм
высота1485 мм
масса620 кг
нормативный документСерия 1.030.1-1/88

ПС 56.150.40  Панели стеновые Серия 1.030.1-1/88.