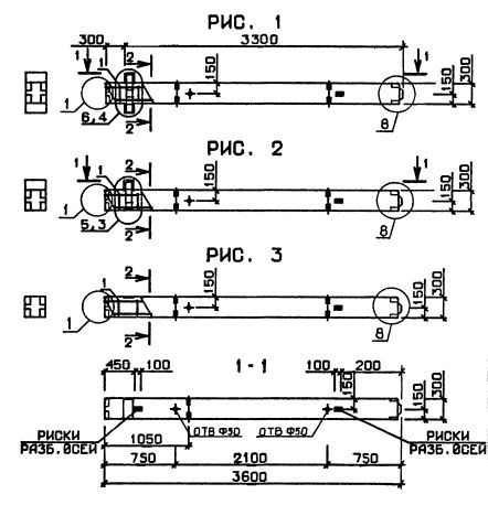
1КО 3.36

Чертеж изделия:
Характеристики изделия:
ПараметрЗначение
длина3600 мм
ширина300 мм
высота450 мм
масса840 кг
нормативный документСерия 1.020.1-3пв

1КО 3.36  Колонны одноконсольные Серия 1.020.1-3пв.