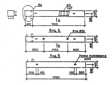
КБ 70

Чертеж изделия:
Характеристики изделия:
ПараметрЗначение
длина7750 мм
ширина400 мм
высота400 мм
масса3000 кг
нормативный документСерия 1.020.1-2с/89

КБ 70  Колонны бесстыковые Серия 1.020.1-2с/89.