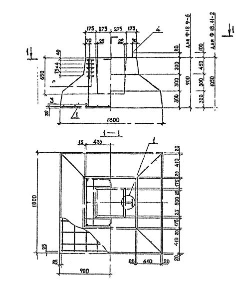
Ф 18.11

Чертеж изделия:
Характеристики изделия:
ПараметрЗначение
длина1800 мм
ширина1800 мм
высота1050 мм
масса4500 кг
нормативный документСерия 1.020.1-2с/89

Ф 18.11  Фундаменты Серия 1.020.1-2с/89.