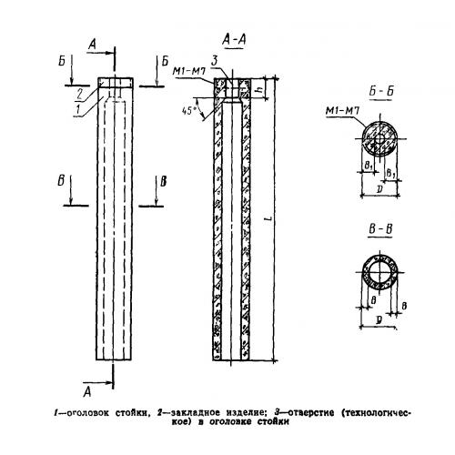
С 8-168-7К3
Характеристики изделия:
| Параметр | Значение |
|---|---|
| длина | 16800 мм |
| ширина | 800 мм |
| высота | 800 мм |
| масса | 7200 кг |
| нормативный документ | ГОСТ 23444-79 |
Цена:
Рассчитать стоимостьС 8-168-7К3 Стойки железобетонные центрифугированные кольцевого сечения для производственных зданий и инженерных сооружений ГОСТ 23444-79.
